Terminology: Slanted Frets

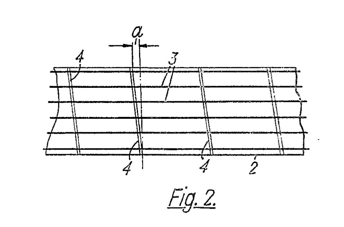
“The present invention substantially facilitates playing of stringed musical instruments such as a guitar by rotating the frets counterclockwise from their usual position…this permits a player to keep his left elbow at his side and merely pivot his left hand and forearm about his elbow…this makes playing of the guitar much easier.”
—Henry C. Perez, US patent application 117,434
That’s an oddly specific (if somewhat crude!) illustration for a patent application, no? And check out this little detail:

So Rickenbacker was in on it from the start! But maybe we’re getting a little ahead of ourselves. Let’s go back and start at the beginning, shall we?
Slanted frets. Yes, that was a thing. Long before today’s multi-scale guitars with fanned frets Rickenbacker was putting slanted frets on guitars. And it was a new and novel enough idea that it was granted a patent, although the fact that literally nobody else ever tried to do this probably tells you all you need to know about how “good” of an idea it was.
So we already know the idea belonged to one Henry C. Perez, and that he assigned the rights to the patent to F.C. Hall. So who was Henry C. Perez and what was his relationship with Hall? No, really! That’s a real question. I can’t find an answer to that anywhere. If you know, please share. Otherwise it’s lost to time.
Just to throw a little controversy in, UK Patent 127380 was filed in 1968 by one David Harris Patterson and granted in June 1971, only few months after Perez filed his patent in the US. Tell me this doesn’t look a little familiar…

Per Patterson, “Other manufacturers copied the idea shortly afterwards, but attempts by my solicitor to contact them to ask for a copy of their patent failed to receive an answer!” Sucks for Patterson! But given that this patent application predates the first known Rickenbacker slant fret prototypes, did Perez copy the idea? Was it just a coincidence? We’ll likely never know.
So let’s forget the stilted patent language. What even was the point of slanted frets anyway? Period factory literature claimed that “this slight slant of the frets across the finger board eliminates the long chord reaches, reduces stretch length, and matches precisely the natural angle of the fretting fingers.”

I mean, maybe? If you barre with your finger and don’t use your thumb that kinda is the angle your fingers fall, so maybe kinda makes sense? It’s not a game changer, though. Still, they had the theory, they thought it was a good one…they just had to do something with it.
The first KNOWN Rickenbacker to feature slanted frets was a prototype 340 built in November of 1969.

As you can see, it wasn’t just the frets that got slanted! The bridge and nut had to be slanted as well to mantain the same scale length for each string.

The pickups didn’t HAVE to be slanted, but they were. You could say it was to maintain the same relative positions as on “normal” guitars—and that’s true—but really it would have looked kinda goofy if they hadn’t so they did. I assume!
It didn’t go into production yet, though. They were still trying to figure out what to do with the idea a year later when the weirdest slanted fret Rickenbacker guitar ever—and maybe one of the overall weirdest Rickenbackers ever!—was built in December, 1970.

I know that’s a terrible photo and I apologize, but it literally the best one I could find. If you have a better one, please send it! But if you squint just so you’ll see that it’s a 12 string, slanted fret 341 Lightshow—custom built for Roger McGuinn, obviously. Does it have Byrd wiring? You bet it does! I mean, if you’re gonna go weird, go big weird!
Still not a production model, though. And here’s the thing: while “production” slanted fret guitars would officially arrive in 1971, it was as an option. There was no “dedicated” slanted fret model.

Also notice how it says the option was available on “most Spanish Guitars.” Apparently “most Spanish Guitars” meant “6-string 360 only”, because that’s the only guitar it ever showed up on.
Well, almost the only guitar it ever showed up on. There was at least one 360/12 that featured the slanted frets, which was probably a pre-production prototype.

Another detail that points to this guitar being a prototype is the fact that it also had a bound headstock—the only known bound headstock 360/12 from this era.

The “SF” you’ve seen me use was a factory designation that obviously stood for “Slanted Frets”. When the 360SF began rolling out of the factory in early 1971, it had another difference from the more obvious slanted nut/frets/pickups/ bridge:

Perez’s patent had been filed in February, 1971, and so when the first production models rolled off the line in April they were equipped with “PAT PEND” stamps on the nut.

Now the early 1970s were pretty tumultuous for the 360 specification-wise, with changes to the number of frets, the pickups, the inlays, the headstock, etc. We identify six different “specification bundles” in our article on the 360 transition here, but there are a handful of specifications that were common to ALL 360SFs made in this era.
They were all six strings, they all had 24 frets, and they all had crushed pearl inlays to the 19th fret.

That picture proves an important fact: the angle of a photograph can make it very hard to quickly identify slanted fret guitars. You probably think this guitar DOESN’T have slanted frets. Now look at it from this angle.

I promise that is the same guitar. What a difference the camera angle makes!
Production of the 360SF only lasted about a year. Did they sell a bunch? Nope. Was it a miserable failure? Well, no more so than Rickenbacker guitars in general at that time. Put it this way: for 1971 slanted fret 360s make up about 40% of the total 360 family production recorded on the register. Which doesn’t sound bad, until you consider that the total number of 1971 entries is just 25 guitars. For 1968–just three years earlier—that number is over 100. 1967? Over 250. Times were not good, and the slanted frets just didn’t move the needle enough to be worth the effort.
But dang it, they still liked the idea. Maybe F.C. still owed Henry Perez a bunch of money…who knows! And so although slanted frets were gone by early 1972, they would be back in 1974 on a guitar that WOULD move the needle!
You’ve already heard that guitar sales were bad. The good news is that 4001 bass sales were spiking. And so Rickenbacker asked themselves the question “what if 4001, but guitar?” Enter the 480 in 1972.

And you know what? It did pretty okay! Good enough that Rickenbacker asked themselves another question: “what if 480, but with heavier sounding humbuckers AND slanted frets?” Enter the 481 in 1974.

Now the 481 didn’t only come with slanted frets—you COULD order it with “normal” frets. But the slanted frets were standard, part of the sales pitch, and if you use the Register as a guide the “standard” fret option box was only ticked about ten percent of the time.

Unlike the 360SF, there is no “SF” designation for the slanted fret 481s. They’re “just” the 481–and there was no special designation for thr “standard” fret version. But because the slanted frets are such an unusual feature, most folks today refer to them as “slanted fret 481s” instead of “just” a 481.
If you recall, the 360SF had “PAT PEND” stamped on the nut, but the patent had been granted in 1973 before the 481 launched. Did they acknowledge that? Sure did! Stamped onto the binding at the bottom of the neck.

Once again, when trying to identify if the frets are slanted or not on a 481, the photo angle is key. Does this guitar have slanted frets?

It sure does.

The 480 and 481 would be Rickenbacker’s top selling 6-string guitars through the late 1970s. Runaway hits? No. But good enough to keep the lights on.
The 481 would remain on the price list through 1984, but production appears to have ended in 1982—just as the beginning of a resurgence in demand for core Rickenbacker models would render the need for guitars like the 481 obsolete. And with that, slanted frets were no more.
But what are they like to play? Eh. You don’t even really notice it if you’re not looking. Does it make it easier, like the patent and the marketing said? Not appreciably, no. But it doesn’t make it harder either, so don’t be afraid of a slanted fret Rickenbacker. If nothing else it’s a great conversation starter!

Want to learn more about…everything else? Check out our handy site map to see what we’ve already covered. Got something you’d like to see covered? Drop it in the comments and we’ll add it to the queue.


re: "but there are a handful of specifications that were common to ALL 360SFs made in this era. They were all six strings, they all had 24 frets, and they all had crushed pearl inlays to the 19th fret."
They were all six strings, except for the 12-string ones. :)